专利号:CN201921107669.5
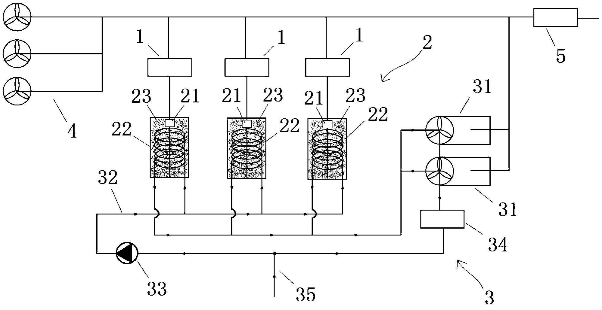
摘要:本实用新型属于风力发电技术领域。为了解决受风力和风向变化的影响导致风电场输出功率有波动,无法保证风力发电机满发运转和造成风能利用浪费问题,本实用新型公开了一种用于风电场大规模储热时空平移装置。该装置包括功率调整单元、蓄热单元和蒸汽发电单元;功率调整单元位于风电场和升压站之间,用于分流风电场输出的高功率电能;蓄热单元与功率调整单元连接,用于将电能转换为热能并存储;蒸汽发电单元与蓄热单元连接,用于将蓄热单元中的热能转换为电能并送至升压站,补充风电场输出的低功率电能。本装置可以对风电场产生的功率波动以热能形式进行时空上的平移,实现恒功率电能输出并且风力发电机可以长期处于满发状态,提高风能利用率。
