专利号:CN201910727345.X
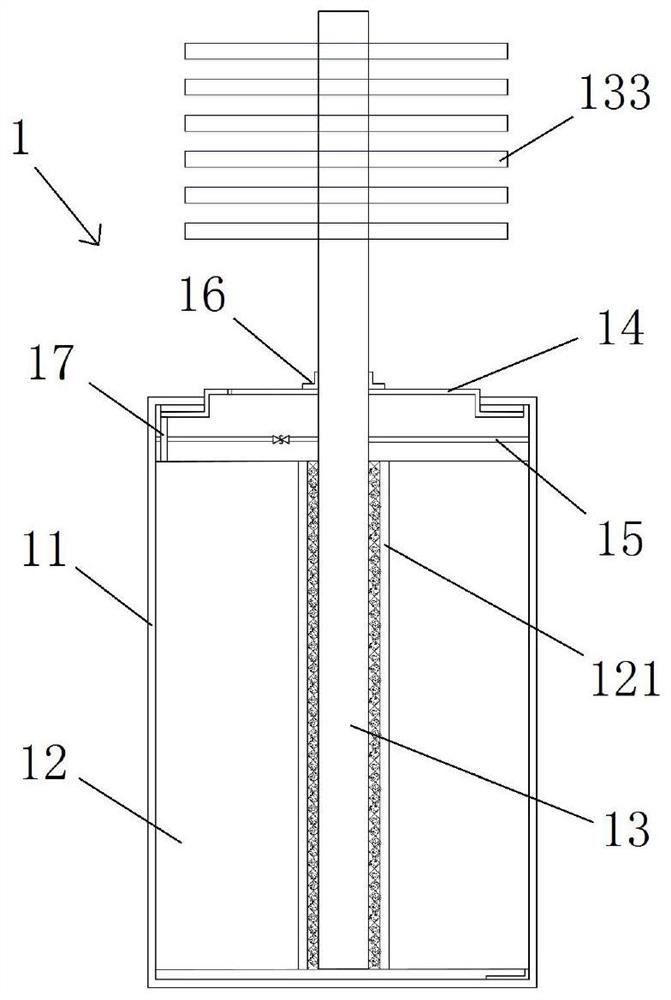
摘要:本发明属于电池技术领域。为了解决由于圆柱形锂离子电池的内部热量无法快速散出,而影响电池使用性能和使用寿命的问题,本发明公开了一种基于热管冷却的圆柱形锂电池单体。该圆柱形锂电池单体包括壳体、电极材料层和热管;其中,所述电极材料层以空心卷形结构固定在所述壳体内部,并且在其中心位置设有空心卷轴;所述热管的蒸发段位于所述空心卷轴内,所述热管的冷凝段伸出至所述壳体外部。本发明的圆柱形锂电池单体,可以实现将位于电池单体内部的热量直接快速引出散热,完成对电池单体的快速冷却降温,从而避免电池单体内部设备长时间处于高温状态而导致使用性能和使用寿命的降低。
