专利号:CN201910821934.4
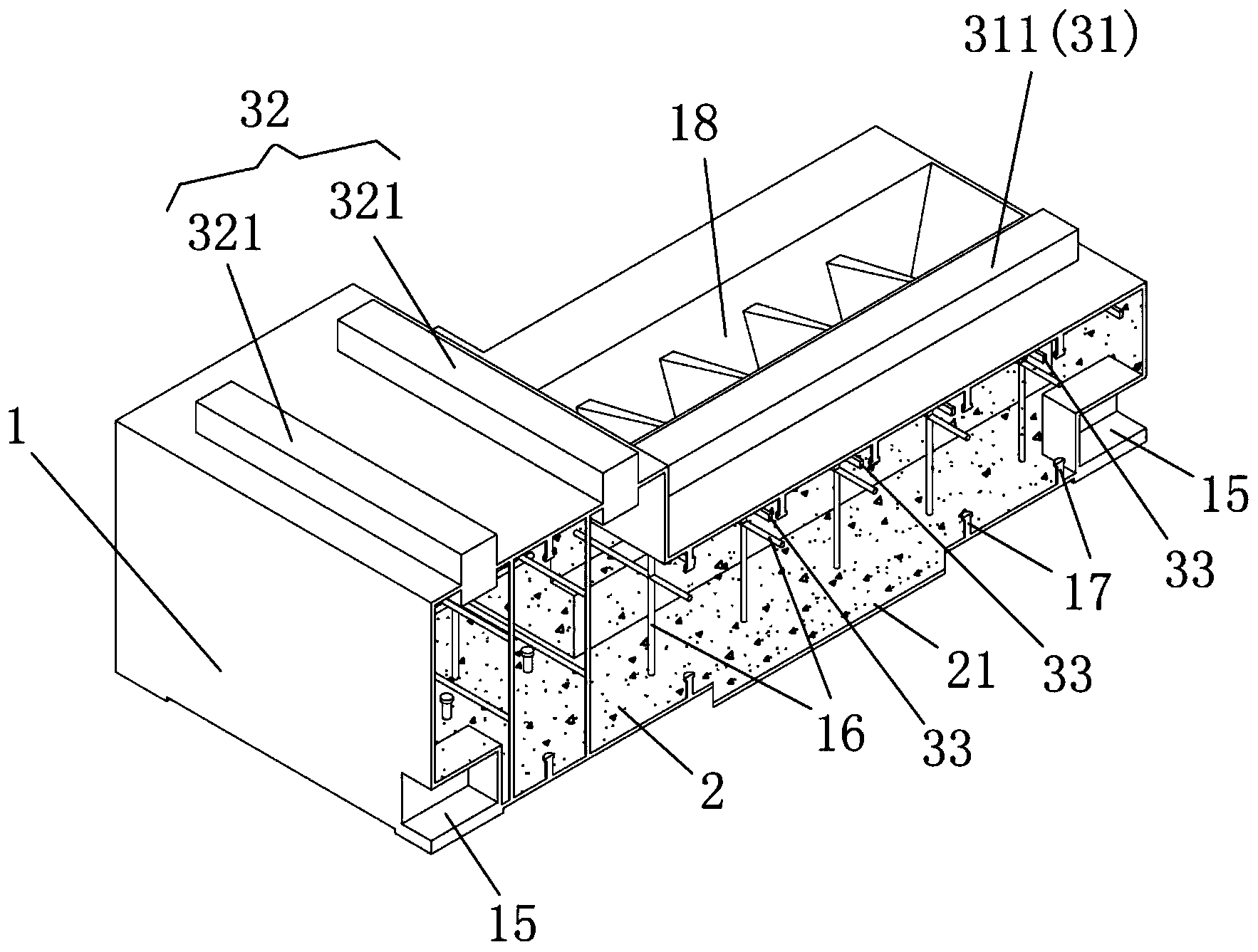
摘要:本发明属于机床设备技术领域。为了解决混凝土与金属壳体发生剥离,使导轨直接失去稳定支撑而发生变形,从而影响机床的稳定性和加工精度的问题,本发明公开了一种基于复合材料的机床床身。该基于复合材料的机床床身包括箱体结构的壳体、位于壳体内部的混凝土结构以及导轨;壳体的上表面设有导轨孔,用于插装导轨;导轨由两个单轨组成,两个单轨的底部分别穿过两个导轨孔后位于壳体的内部,并且两个单轨的底部之间通过导轨连接件固定连接,单轨的底部以及导轨连接件同时与混凝土结构固定连接。本发明的机床床身由混凝土结构对导轨提供支撑固定,避免了混凝土与金属壳体发生剥离时导轨失去支撑而变形,从而影响机床的稳定性和加工精度的问题。
