专利号:CN201910826356.3
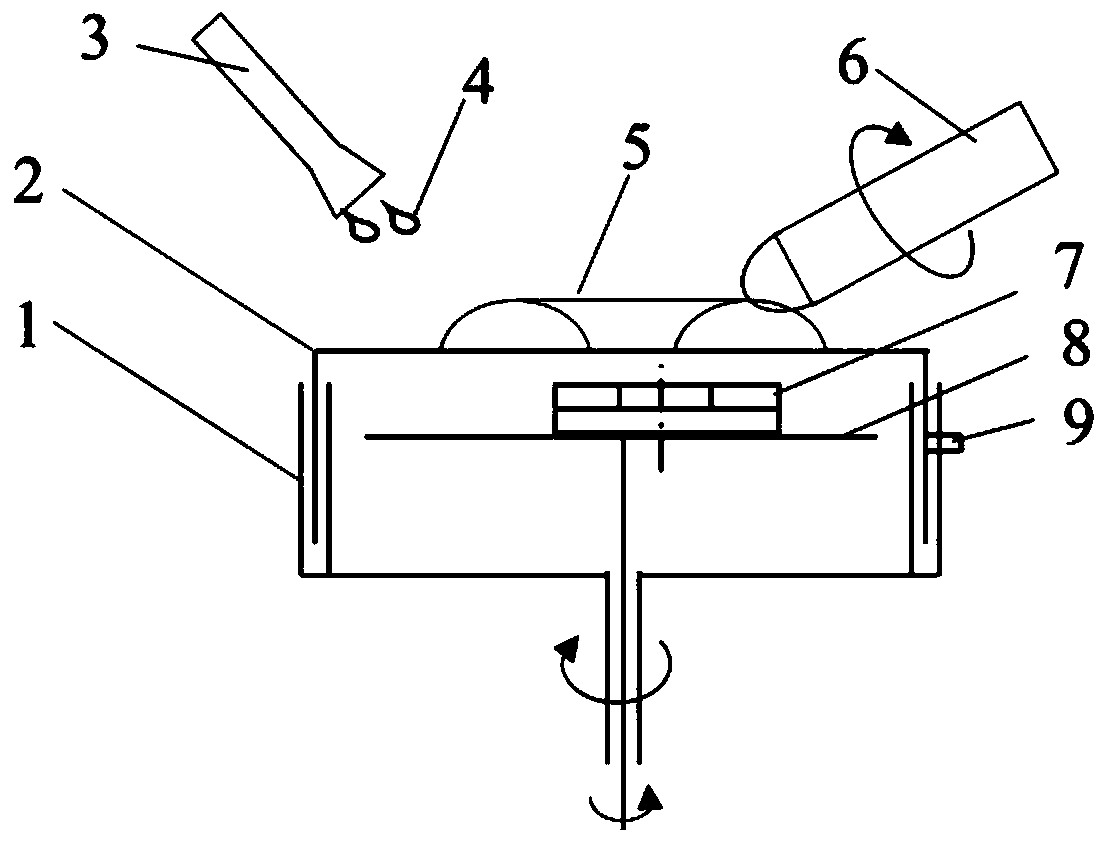
摘要:本发明公开了一种基于磁性混合流体非球面模具钢高精密抛光的装置,包括磁铁固定结构、磁铁、主旋转体、载液结构和紧固件。磁铁固定结构包括固定盘和转轴;磁铁固定于固定盘的上表面;主旋转体包括底盘、第一侧壁和管体,管体垂直固定于底盘的底部中心位置,底盘上与管体对应位置处设有通孔,第一侧壁垂直固定于底盘上且与底盘同轴线;载液结构包括载液盘和第二侧壁;第一侧壁和第二侧壁通过紧固件相互固定,第一侧壁和第二侧壁的轴向距离能够调整,固定盘位于载液盘与底盘之间,转轴从管体内穿出。本发明能够根据磁铁的大小及数量调整第一侧壁和第二侧壁的轴向距离,实现磁性混合流体液滴的稳定吸附,从而提高加工精度。
