专利号:CN201921517608.6
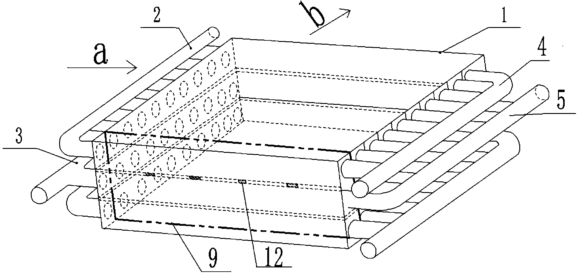
摘要:本实用新型提供了一种双面冷却的多流道式膜蒸馏装置,包括壳体,壳体内设置有两层水平设置的冷壁将壳体的内腔从上至下依次分隔成上冷流区、热流区和下冷流区,上冷流区、热流区和下冷流区内沿流体流动的方向并排设置有多个隔板;热流区内水平设置有两层多孔疏水膜将热流区的上下两端分隔出气隙通道,气隙通道内设置有多个肋片,上冷流区和下冷流区的相对两侧的壳体上均设置有冷却水进水管道和冷却水出水管道。本实用新型通过在气隙通道中设置肋片,能够加强水蒸气冷凝的作用,并且能够起到支撑多孔疏水膜的作用,降低多孔疏水膜的弯曲度,减少通量损耗;隔板将上冷流区、热流区和下冷流区均分割成多个平行的流道,且可提高通量。
