专利号:CN201910920962.1
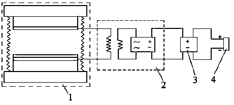
摘要:本发明公开了一种基于摩擦纳米发电机的手机自充电系统,包括依次相连的能量收集单元、管理电路、能量存储单元和USB充电接口;能量收集单元包括通过多个弹性件相连的第一发电部件和第二发电部件,该第一发电部件由从上往下依次粘接的第一支撑层、第一弹性层和第一电极层组成;该第二发电部件由从下往上依次粘接的第二支撑层、第二弹性层、第二电极层和第一摩擦层组成;第一支撑层和第二支撑层通过多个弹性件相连,第一发电部件和第二发电部件之间有空隙。该手机自充电系统具有结构简单、质量小、成本低、可携带等优点。有效收集人体运动的机械能并转化为电能,实现对手机随时随地充电。打破了停电、边远山区对手机充电的限制。
