您当前的位置: 网站首页 > 科技成果 > 专利技术 > 正文
专利号:CN201921698654.0
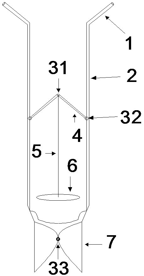
摘要:本实用新型涉及一种密闭式抓斗取泥器,该取泥器包括密闭盖和密闭式抓斗。所述密闭式抓斗上设有所述密闭盖;所述密闭盖顶部垂直焊有竖杆,该竖杆的顶端对称设有一对支撑杆;所述密闭式抓斗的两侧对称设有一对连接杆,该每个连接杆的末端连有手柄;所述连接杆与所述支撑杆一一对应连接。本实用新型简单省力,取泥方便,所取泥量可观,不会由于水力作用而导致污泥在由池底上升时被冲散。
上一页:一种多级泵流致振动抑制装置
下一页:适于风机叶片的球型液体减振装置及安装方法