专利号:CN201911151914.7
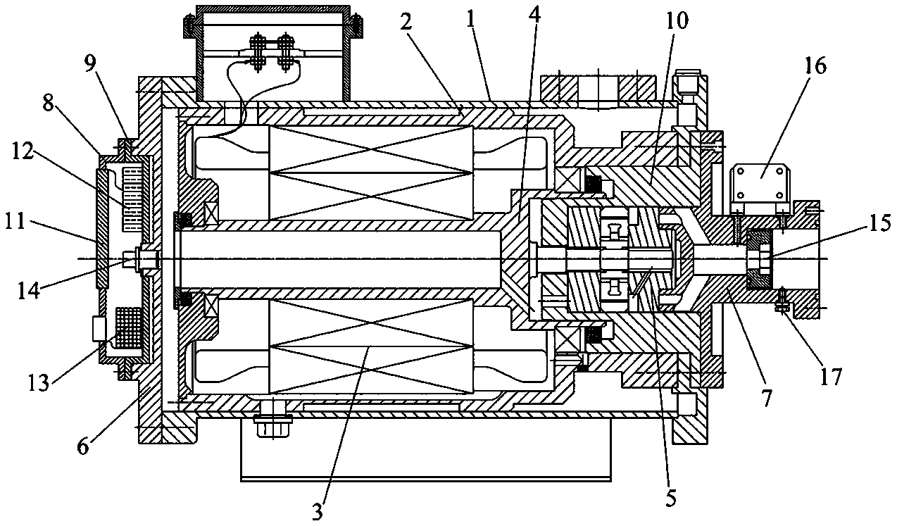
摘要:变转速调定输出流量的液压电机泵,由外壳体(1)、内壳体(2)、电机(3)、孔板离心泵(4)、主泵芯(5)、电子元件集成端盖(6)、主泵出口集成块(7)、盖板(8)、安装底板(9)、泵芯座(10)、状态显示器(11)、主机(12)、配电电池(13)、离心泵入口压力传感器(14)、插装式孔板(15)、孔板压差传感器(16)、出口温度传感器(17)、泵内油液温度传感器(18)、非接触式转速传感器、液位传感器、电源开关、温度报警器、液位报警器组成。使电机泵在工作时能够实时监测温度、压力、转速、液位传信息,并通过内置主机,将压差信号转换成流量信号,并通过变频电机调速稳定流量,同时将泵的运行状态显示出来。
