专利号:CN201922331326.3
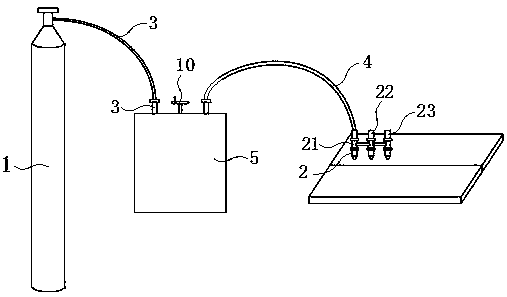
摘要:本实用新型公开了一种随焊激冷装置,包括储气瓶、冷却装置和焊枪组件,冷却装置上设有进气口和出气口,储气瓶与冷却装置的进气口之间连接有第一输气管,焊枪组件与储气瓶的出气口之间连接有第二输气管。冷却装置包括盛放液氮的罐体,罐体的顶部设有直径略小于罐体内径的罐盖,且罐盖与罐体之间连接有带动罐盖上下移动的调节装置;所述进气口与出气口设于罐盖上,罐盖的下方固定连接有螺线形环绕设置的冷却管,所述冷却管的两端分别与进气口和出气口相连接。该装置通过液氮冷却保护性气体,由冷却后的气体对焊缝进行降温冷却,有助于控制焊缝的残余应力和变形,减少焊缝缺陷,提高焊接质量。
