专利号:CN202010038093.2
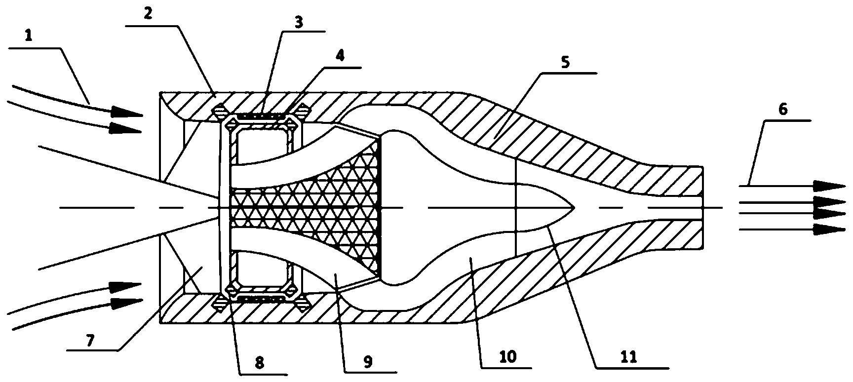
摘要:一种双定子驱动的动力单元一体化螺旋混流式喷水推进泵,本发明涉及喷水推进技术领域,磁悬浮轴承由一号磁体和二号磁体构成,一号磁体嵌设固定在位于绕组线圈两端的壳体内壁上,二号磁体固定在永磁体的两端上,同一端的一号磁体与二号磁体同极相斥设置;壳体的一端为水体入口,另一端上一体成型有整流喷管,整流喷管的内壁一体成型有数个导叶叶片,整流喷管内设有导流装置,整流喷管的另一端为水体出口;水体入口内部的壳体中设有固定支架。电能转化率高,提高对潜水艇的推进效率、损管冗余度,并有效节省舰艇内的空间,有效的屏蔽和降低辐射噪声。
