专利号:CN202010037132.7
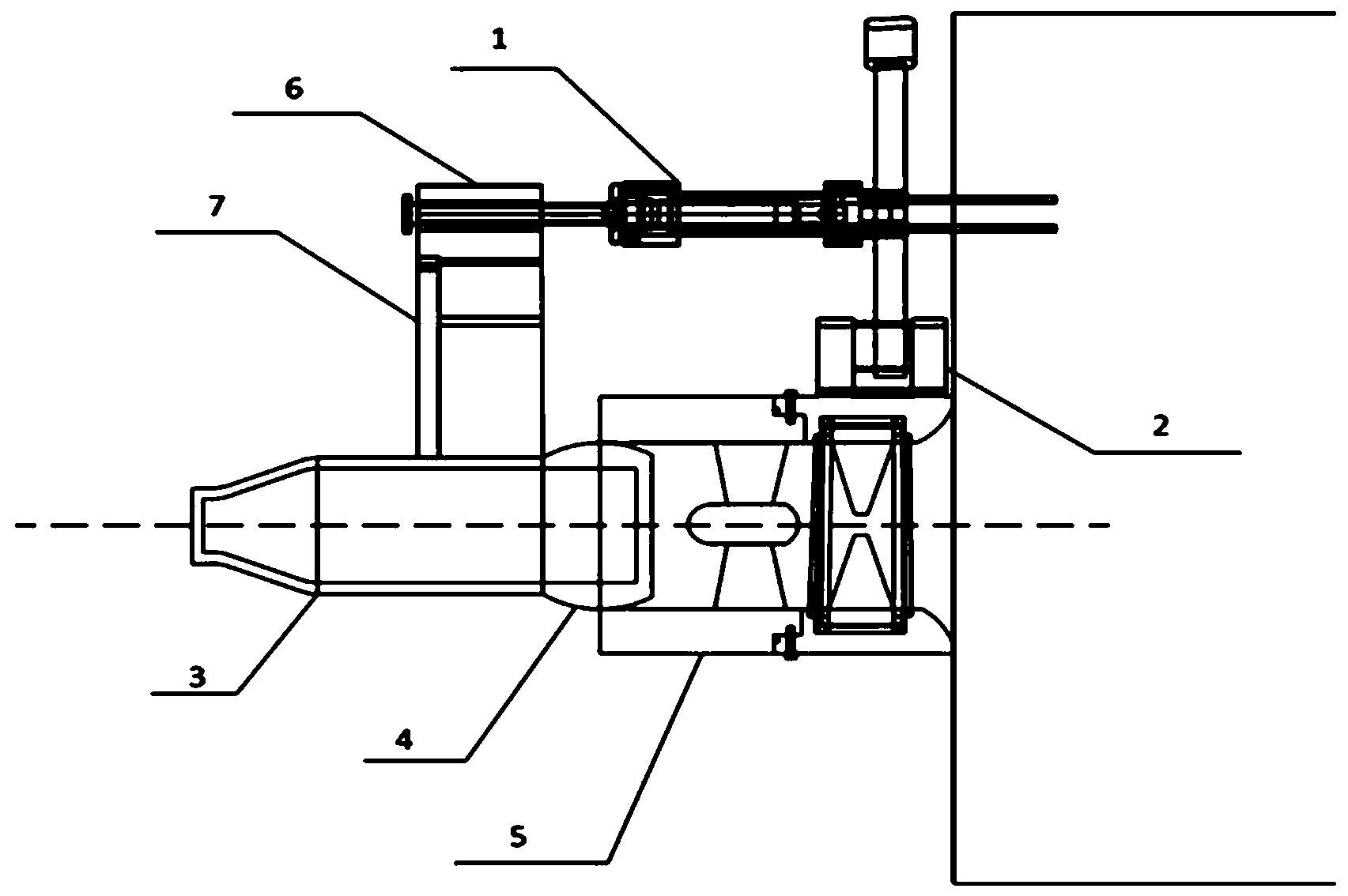
摘要:一种双定子驱动及动力单元一体化的三元矢量泵喷推进器,本发明涉及推进器技术领域,液压缸的一端旋接在液压缸导轨中的立杆上,该立杆的内端活动卡设在液压缸导轨中,液压缸导轨固定在喷水推进泵的一端外壁上,喷水推进泵的另一端利用鱼眼向心连杆活动卡设有矢量喷管,矢量喷管的外壁上固定有活塞杆固定卡槽导轨,活塞杆固定卡槽导轨中活动卡设有液压缸活塞杆卡槽,液压缸的活塞杆活动卡设在该液压缸活塞杆卡槽中。采用磁悬浮轴承,六相双定子驱动,无轴电机‑螺旋轴流泵一体化设计,喷管三元矢量控制技术,实现潜航器的高效、高冗余度推进以及航行姿态的自主、有效的控制。
