专利号:CN202010181593.1
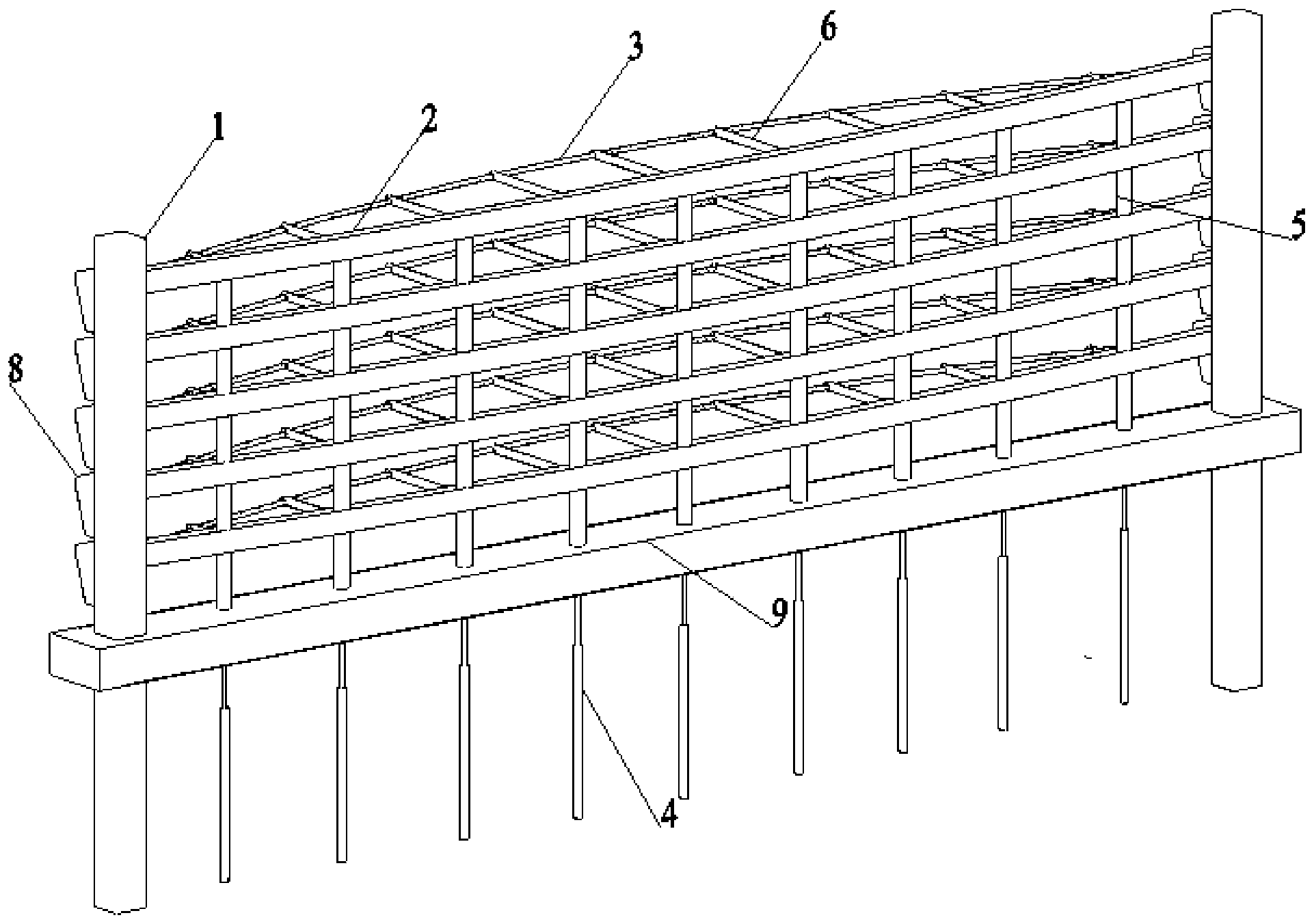
摘要:本发明公开一种地锚张弦梁式泥石流格栅坝及其施工方法,格栅坝包括立柱、基础梁、竖向预应力锚杆、张弦梁自平衡结构体系和竖杆,所述的立柱和竖向预应力锚杆埋入地下,立柱上隔一定距离设置有牛腿;所述的基础梁与地面平齐;所述的竖向预应力锚杆固定在在基础梁内;所述的张弦梁自平衡结构体系由张拉索、张弦梁、撑杆和滑移支座组成,放置在牛腿上;所述的竖杆水平间隔布置,与张弦梁连接形成格栅;本发明中张弦梁自平衡结构体系传力明确,改善了结构受力性能,增加了结构整体抗冲击能力,保证了结构安全可靠,而合理的受力性能使结构构件截面尺寸大大减小,节约成本,本发明结构形式新颖,便于现场施工组装和后期运营维护。
