专利号:CN202010298857.1
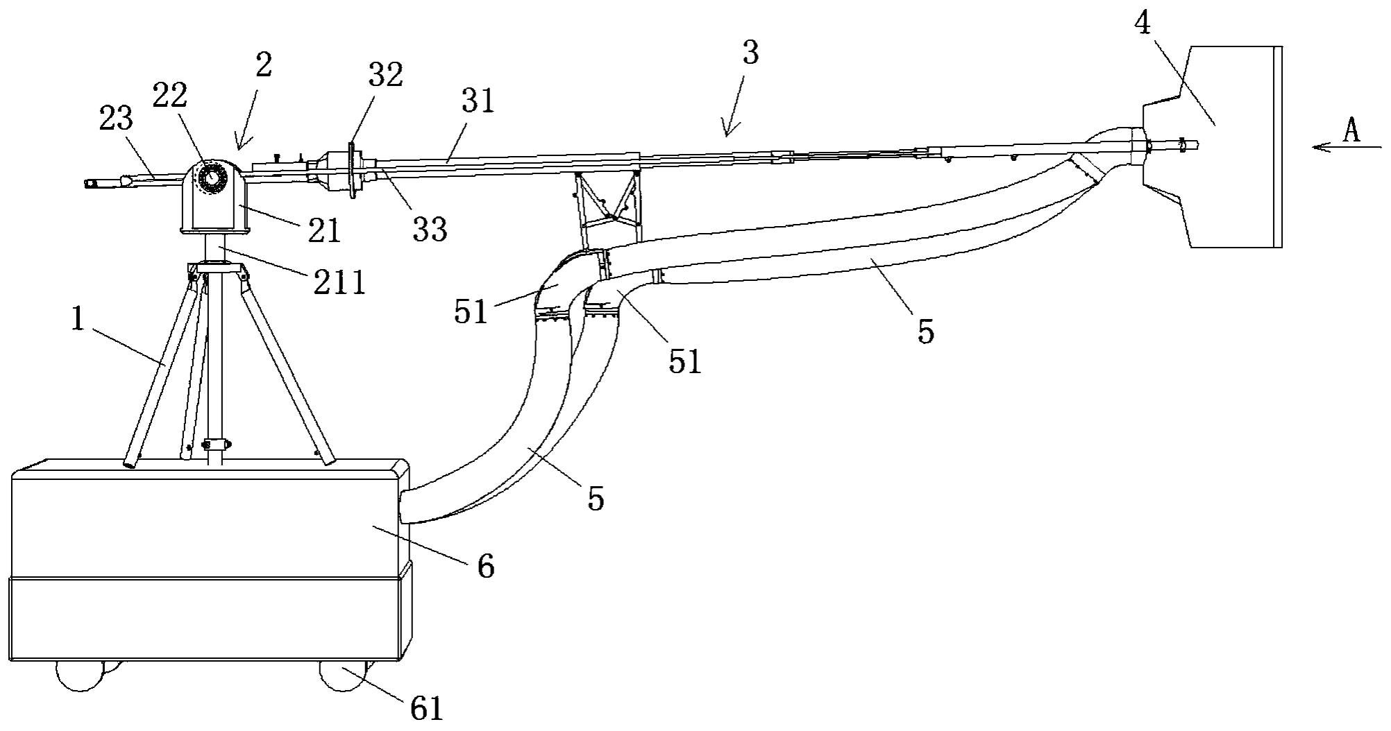
摘要:本发明属于水果采摘技术领域。为了解决现有采摘机械和设备在使用过程中存在的占地空间大、成本高的问题,本发明公开了一种可以对位于不同高处水果进行采摘的水果采摘机。该水果采摘机包括支架、转动单元、伸缩杆和采摘单元;支架与转动单元连接,伸缩杆的一端与转动单元连接,另一端与采摘单元连接,可以带动伸缩杆进行水平方向转动以及调整伸缩杆在竖直平面内的角度;采摘单元由壳体、铁丝刀具、腰鼓形轴和电机组成;腰鼓形轴位于壳体内部并且与电机的输出端连接;铁丝刀具固定在腰鼓形轴上,铁丝刀具与腰鼓形轴之间留有水果通道。本发明的水果采摘机,不仅结构简单、体积小、操作使用灵活,而且成本低。
