专利号:CN202020581317.X
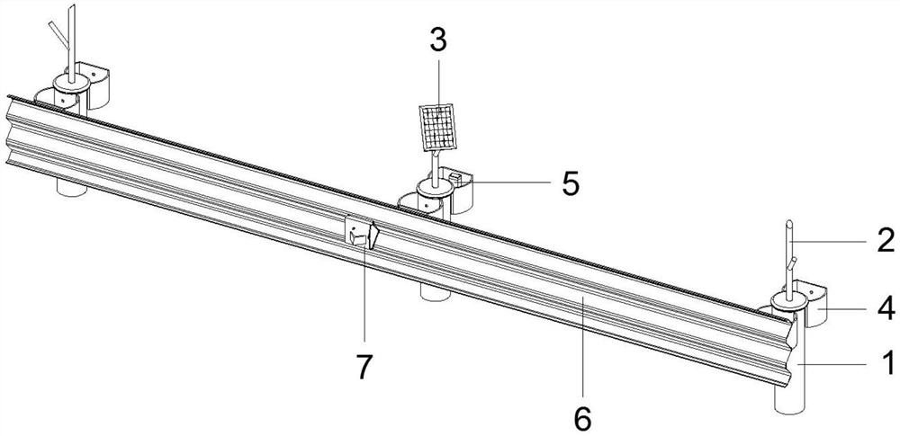
摘要:本实用新型提供了基于太阳能的道路预警系统,包括:立柱、信号发生装置、信号接收装置;所述支架通过焊接方式安装在立柱上,且太阳能电池板通过螺栓固定安装在支架的上方;所述缓冲圈通过螺栓固定安装在立柱的上部,且蓄电池通过螺栓固定安装在缓冲圈的内壁上;所述护栏通过螺栓固定安装在缓冲圈上,且信号发生装置通过螺栓固定安装在护栏的外壁上;本实用新型通过对基于太阳能的道路预警系统的改进,具有结构设计合理,当前方车辆出现意外事故发生碰撞时会将该信息发送至后方的信号接收器,提醒后方车辆、防止二次事故的发生,将事故损失降到最低的优点,从而有效的解决了本实用新型提出的问题和不足。
