专利号:CN202010610459.9
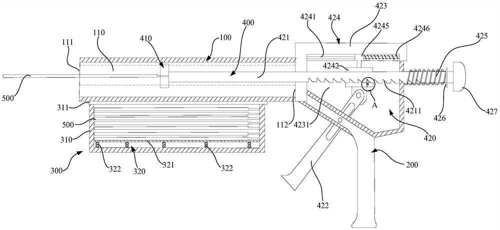
摘要:本发明公开了一种焊接钳,包括:本体、把手、焊条供给部件和焊条输送部件。在使用过程中,使用者可驱动阻挡件脱离存储部的开口,推送组件会推动存储于存储腔内的焊条向靠近本体的位置移动,使得位于存储部的开口处的焊条移动至输送通道内,夹持组件将位于输送通道内的焊条的尾部夹持,动力供给组件带动夹持组件并联动焊条向靠近前端的位置移动,以将焊条输送至输送通道外。当输送通道内的焊条使用完时,可通过焊条供给部件自动将焊条输送至输送通道内,然后通过焊条输送部件将焊条输送至本体的前端,该过程中,无需人工手持更换。另外,本体可对焊条起到一定的保护作用,以及可降低在人工焊接时焊条的进给量过大而起火的风险,其安全性能更好。
