专利号:CN202021292459.0
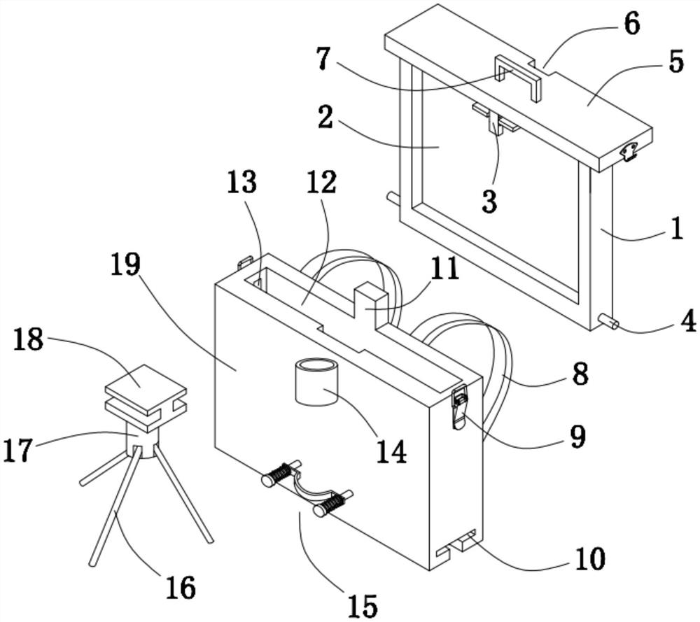
摘要:本实用新型公开的一种新型土木工程测绘装置,包括移动箱、支架机构和收纳机构,所述移动箱的后部设有背带,所述支架机构包括滑接座,所述立柱底部通过销轴连接有支撑杆,所述移动箱的前部上侧还设有用于插接立柱的圆筒,所述移动箱的前部下侧还设有用于限定支撑杆位置的限位卡箍机构,所述收纳机构包括收纳板,所述收纳板前部的凹槽顶部设有夹紧机构,所述收纳板收纳于移动箱中部的收纳腔内,所述收纳板下部两侧的销轴滑接于收纳腔两侧的竖直槽内,所述移动箱的后部上端设有支撑于收纳板后部的支撑板。本实用新型支架机构和收纳板可张开后使用,便于测绘作业;支架机构和收纳板可完成收纳,使得移动箱可通过背带背起,便于携带。
