专利号:CN202021344961.1
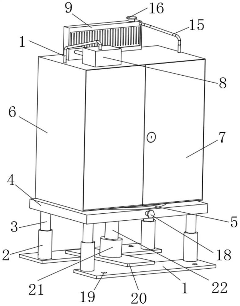
摘要:本实用新型公开了一种新型高散热的电气配电箱,涉及到高散热的电气配电箱领域,包括两个安装板,两个安装板的顶侧均转动安装有两个下支柱,四个下支柱的顶端均开设有滑动槽,四个滑动槽内均滑动安装有上支柱,四个上支柱的一端分别延伸至四个滑动槽外。本实用新型结构合理,通过设置立柱和螺柱,便于对配电箱本体的高度进行调整,避免配电箱本体在低洼的地方被雨水淹没,使得电子元件损坏,通过设置水泵总成、散热器总成、风扇总成和循环管,使得冷热水循环流动,从而对配电箱本体内的电子电器进行高效散热,不需要对配电箱本体内进行风冷,避免了杂质进入配电箱中,对电子电器工作造成影响。
