专利号:CN202021410500.X
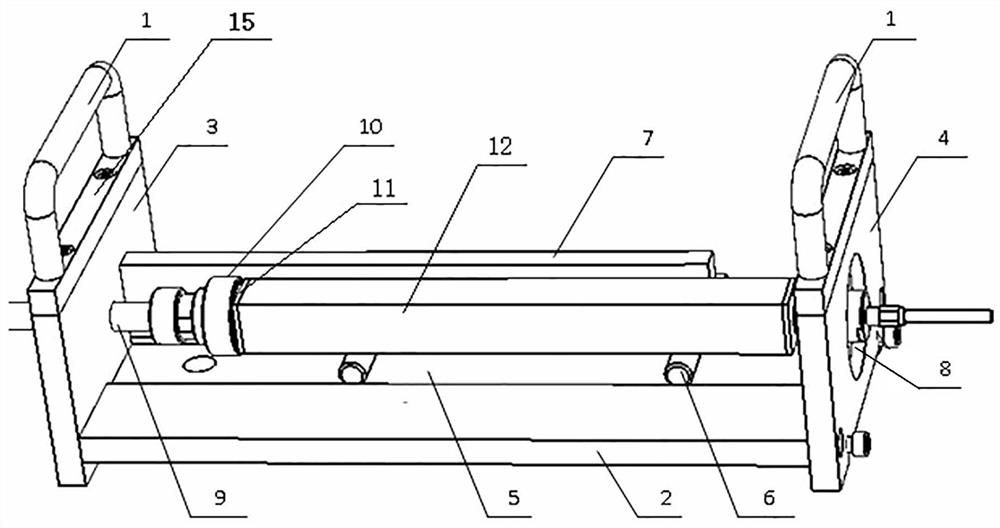
摘要:本实用新型属于沥青混合料、无机结合料等材料测试技术领域,公开了一种用于测定沥青混合料或无机结合料收缩性能的模具,以解决现有技术中测试材料性能进行评估测试中存在的技术问题,该模具包括底板座,底板座沿长度方向的一侧面设有第一侧板,底板座沿长度方向的另一侧面设有第二侧板,第二侧板上设有用于安装传感器的安装孔,底板座上设有凹面,凹面上装有试件,试件的一端与设置在第一侧板上的可调节固定轴可拆卸安装,试件的另一端靠近安装孔。本实用新型结构简单,操作方便,除了放置试件,不需要安装,不需要对操作人员有较高的要求。且本实用新型在底板座上设置凹面,在测试中可以保证试样更加稳定,减少实验误差。
