专利号:CN202021501166.9
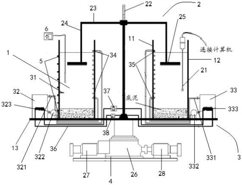
摘要:本实用新型涉及一种模拟重金属迁移释放规律的实验装置,包括环形水槽、水动力条件模拟装置以及水温调控装置;水动力条件模拟装置包括升降旋转组件、与升降旋转组件连接的搅拌装置以及放置在环形水槽内的流速仪;水温调控装置包括升温构件、降温构件和温度传感器。与现有技术相比,本实用新型可模拟不同水温、流速和水质等耦合环境下河流底泥重金属的迁移释放规律,探究河流水体在水环境耦合变化下底泥重金属的迁移释放规律,并建立底泥重金属随水动力水环境耦合改变下的释放动力学模型,为量化分析水环境耦合变化对底泥重金属释放研究提供了可靠的实验仪器。
