专利号:CN202010739873.X
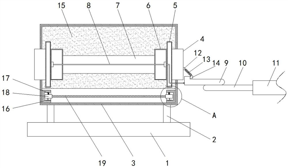
摘要:本发明提供一种可快速切断电力的电容器,包括底座,底座的上侧固定安装有安装支架,安装支架的上端固定安装有壳体,壳体上设置有两个固定部件,两个固定部件相对的一侧均安装有两个连接支架,两个连接支架相对的一侧均安装有铜圈。该可快速切断电力的电容器,当熔断管发生熔断现象,同时牵引绳断裂导致第一通电机构缺失一种约束力,进而第一弹簧机构通过拉力拉动第一通电机构,使第一通电机构与第二通电机构分离,实现断电效果,同时由于电流超过规定值一段时间后会使电容器出现故障,发生闪络同时会产生火花,火花溅落在壳体内表面上的石磨层,对火花进行消除,从而使设备达到了消除电火花与电容器快速断电的效果。
