专利号:CN202010781189.8
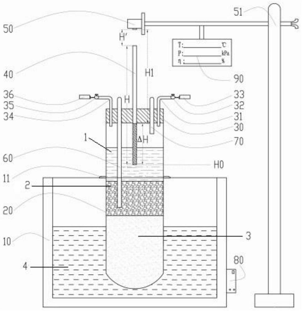
摘要:本发明公开了一种盐溶液盐胀及冻胀高效、精准测量装置,包括温箱、试管、滴液管、雷达测距仪、L形固定架、控制系统和显示屏,温箱为内置有乙醇溶液的中空密封箱,试管的底部插入乙醇溶液中,试管的顶部穿出温箱,试管的顶端设置有橡皮塞,试管内由下至上依次设置有盐溶液和防冻油,滴液管的侧壁上设置有刻度,滴液管的底端穿过橡皮塞,滴液管的顶端、底端均敞口,当盐溶液发生盐胀或冻胀时防冻油的顶端的液面能够将滴液管的底端浸没;雷达测距仪和显示屏均固设在L形固定架上且分别与控制系统信号连接,雷达测距仪位于滴液管的正上方。本发明的盐溶液盐胀及冻胀高效、精准测量装置提高了盐溶液盐胀及冻胀测量的效率和精确度。
