专利号:CN202021704516.1
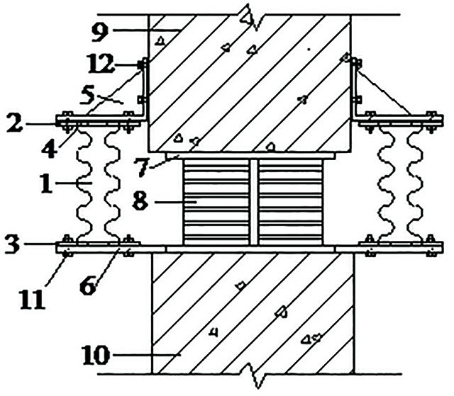
摘要:一种应用于隔震层的屈曲‑剪切型金属阻尼器,用于隔震建筑的隔震层部分,属于工程结构减隔震技术领域,包括波纹筒(1)、上连接板(2)、下连接板(3)、环形撑板(4)、L形连接件(5),波纹筒(1)与上连接板(2)、下连接板(3)和环形撑板(4)固结构成阻尼器部件,L形连接件(5)固定在隔震层上支墩(9)上,上连接板(2)与L形连接件(5)固连,下连接板(3)与隔震支座下连接板(6)固连。当上支墩(9)发生水平移动时,上连接板(2)随上支墩(9)一起移动,波纹筒(1)产生拉压屈曲变形和弯曲剪切变形,可在任意水平方向为隔震层提供阻尼和抗侧刚度,抑制隔震层的变形并耗散能量,从而起到保护上部结构的作用。
