专利号:CN202011331473.1
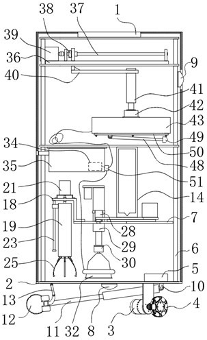
摘要:本发明公开了一种多功能家用卫生间清洁机器人;改清洁机器人包括机架、地面清理机构、地漏清理机构、马桶清洗机构和控制器;其中,地面清理机构包括设在机架上的脱水传动机构和设在脱水传动机构上的吸水清理头;地漏清理机构包括设在机架上的工位转换机构、设在工位转换机构上的取盖机构和清洗机构;马桶清洗机构,其包括设在机架上的伸展机械臂和设在伸展机械臂上的洗刷机构;控制器设在机架上并分别与地面清理机构、地漏清理机构和马桶清洗机构电连接;本发明功能齐全、可解决卫生间常见的地面湿滑、地漏堵塞以及马桶内壁污浊的问题。
