专利号:CN202011508912.1
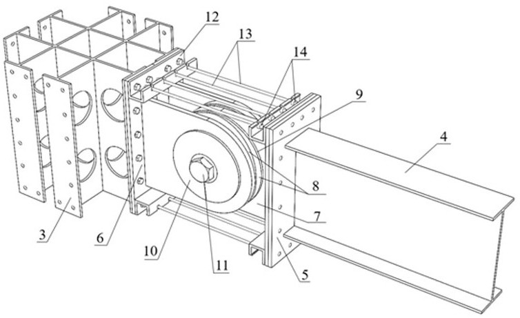
摘要:一种自复位型刚度自适应控制装配式梁柱节点,预制柱(1)和预制梁(2)通过柱T形连接板(6)、梁T形连接板(7)和销轴(11)铰接连接,所述柱T形连接板的第一耳板(6‑2)和梁T形连接板的第二耳板(7‑2)之间安装可以实现变刚度的鞍形圆板(8)和橡胶圆板(9),所述高弹性件(13)通过夹具(14)张拉固定栓接于柱T形连接板的第一立板(6‑1)与梁T形连接板的第二立板(7‑1)上的U形卡槽(12)之间。本发明实现了不同强度外荷载作用下结构的自适应控制,避免了构件发生较大的塑性损伤,同时在震后基本可以实现完全复位,节点全程干作业施工,连接可靠,安装方便,可快速更换。
