专利号:CN202011564341.3
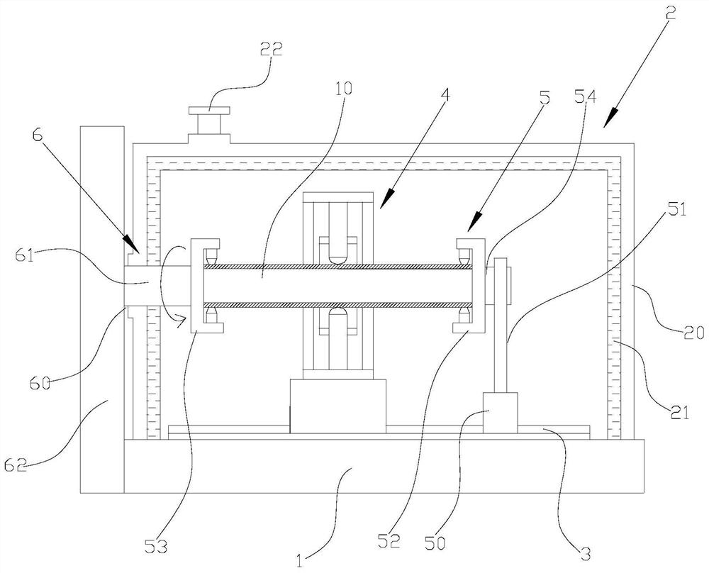
摘要:本发明公开了一种大口径金属管材表面强化装置及强化方法,包括底座、设置在底座上的环境箱、设置在底座上的工作滑台、滑动配合在工作滑台上的冲击机构、滑动配合在工作滑台上且用于夹持金属管材的装夹机构以及设置在底座侧面且用于带动金属管材旋转的旋转机构,工作滑台、冲击机构及装夹机构均位于环境箱内;其结构可靠,使用性能好,有效的实现了对金属管材的可靠强化,通过冲击机构、装夹机构及旋转机构之间的配合设置,对大口径金属管材表面进行大塑性变形从而实现表面晶粒细化,从而在管材自身表面产生梯度结构,提高金属管材表面的强化效果。
