专利号:
CN202121491175.9
摘要:
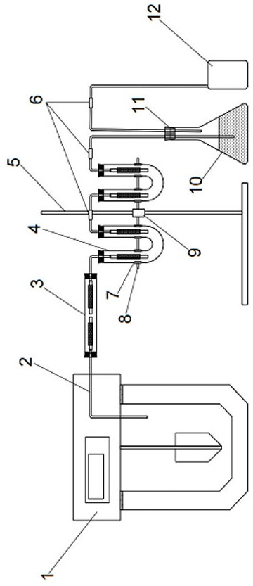
一种模拟拌合过程的沥青混合料室内产烟收集装置,拌合产烟机构(1)中搅拌电机(16)上有数显面板(13),且与连接杆(17)连接,连接杆(17)与搅拌器(18)连接,搅拌锅(15)与搅拌电机(16)连接处有密封胶条(14);沥青烟收集机构中L型玻璃导管(2)置于整个沥青收集机构的所有连接结构,直玻璃收集管(3)通过L型玻璃导管(2)与拌合产烟机构(1)连接,U型玻璃收集管(4)通过L型玻璃导管(2)与直玻璃收集管(3)连接,可调节固定夹与固定支架(5)连接,双孔橡胶塞(11)置于洗气瓶(10)顶部,与L型玻璃导管(2)连接,橡胶连接管(6)置于沥青烟收集机构中的L型玻璃导管(2)间的连接部位。
