专利号:
CN202110769767.0
摘要:
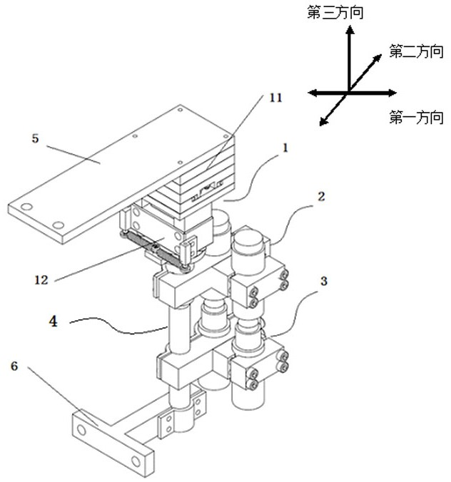
一种接头自适应导向对接机构,包括上浮动结构;上固定组件,连接于上浮动结构的底部,并被配置成固定接头的第一头;下固定组件,被配置成固定接头的第二头;导向组件,设置在上固定组件和下固定组件之间,并被配置成引导接头的第一头和第二头对接;上浮动结构被配置成在第一头和第二头对接时发生沿第一方向和/或第二方向的滑移运动和/或第三方向的旋转运动,第一方向、第二方向和第三方向为两两相互垂直的关系;通过导向机构引导接头的第一头和第二头对接,上浮动结构在接头的第一头和第二头对接时发生自适应的滑移运动和旋转运动,使得接头的第一头和第二头对中并对齐,实现接头的第一头和第二头的准确、可靠插入对接。
