专利号:
CN202121595772.6
摘要:
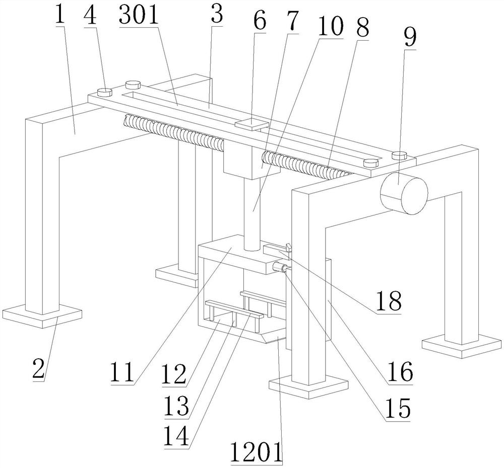
一种机械起升式工程机械转移装置,涉及工程机械搬运技术领域,包括龙门架、支撑板、滑板、挡板、移动块、安装柱和移动装置;龙门架设有两个,两个龙门架沿横向分布,两个龙门架平行;支撑板设在两个龙门架上,支撑板上表面沿横向设置有开口;滑板滑动设在支撑板上,滑板位于开口内,滑板沿纵向贯穿开口;挡板设在滑板的上端,挡板与支撑板滑动连接;移动块设置在滑板底部;安装柱设在移动块底部;移动装置设在安装柱底端;移动装置包括安装板、放置板、立柱、横杆、伸缩杆和侧板;安装板设置在安装柱底端,安装板横向一侧设置有安装槽;伸缩杆设置在安装槽内。本实用新型能够方便对机械设备进行搬运,操作简单方便,稳定性好,精度高,效率高。
