专利技术

您当前的位置: 网站首页 > 科技成果 > 专利技术 > 正文

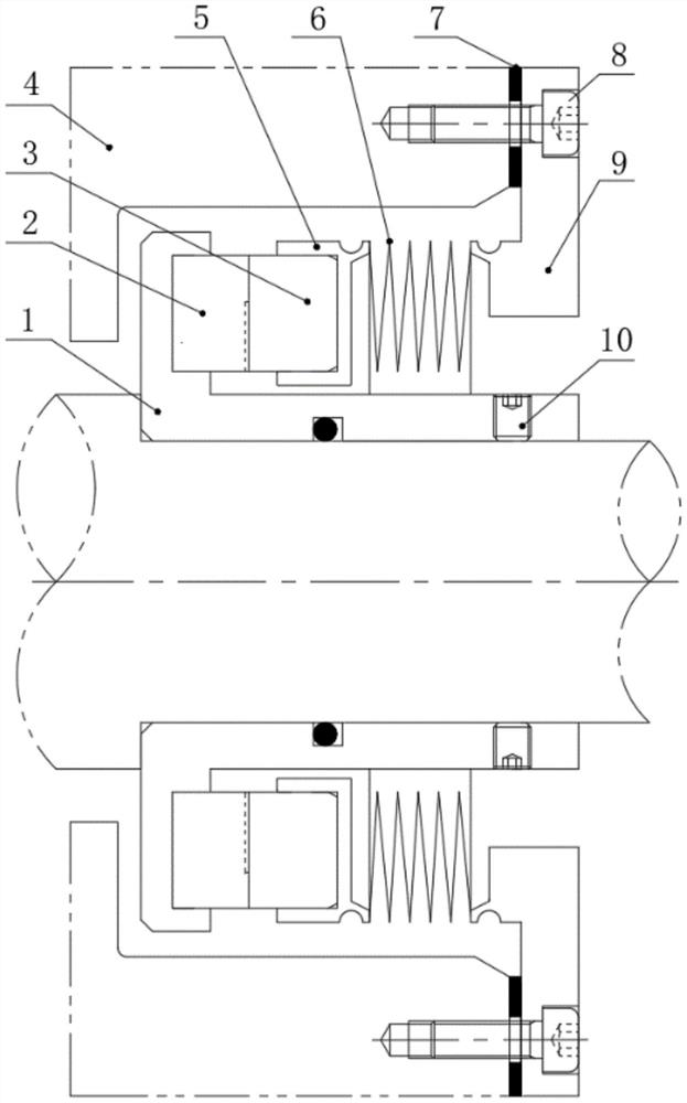
一种新能源车用高速流体动压密封结构
2024-05-30 点击: 作者: 来源:

专利号:

CN202121661865.4

摘要:

本实用新型公开了一种新能源车用高速流体动压密封结构,包括外壳、位于外壳内的轴套、镶装在轴套内的动环、与所述动环相匹配的静环组件、开设在动环端面的若干动压槽,还包括波纹管,所述波纹管一端与静环组件远离动环所在方向的一侧固定连接、另一端与外壳固定连接。本实用新型提供一种新能源车用高速流体动压密封结构,以解决现有技术中的上述问题,实现提供一种适用于超高速新能源汽车用的流体动压密封结构,进而实现新能源汽车电机长周期稳定运行的目的。