专利号:
CN202121942865.1
摘要:
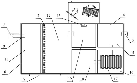
本实用新型涉及微咸水处理设备技术领域,具体涉及一种基于绿色能源的微咸水净化装置。该装置中过滤池通过隔板将内腔分隔为沉淀区、混凝区、净化池和蓄水池。沉淀区利用过滤板将沉淀区分隔为一级沉淀池和二级沉淀池。沉淀区的底部设置有排污口。混凝区利用组合板将混凝区分隔为一级混凝池和二级混凝池。一级沉淀池的侧壁上连接有进水管。一级混凝池内设置有搅拌杆。净化池内设置有净化装置。蓄水池的侧壁上设置有排水口。控制柜被安装在过滤池的外壁上。控制柜内电机的输出轴与搅拌杆相联接。电机和净化装置均与发电装置相连。该装置优化了现有净化装置的结构,在提升净化效果的同时,进一步降低了处理过程中对电力资源的消耗,节约了使用成本。
