专利号:
CN202122007981.0
摘要:
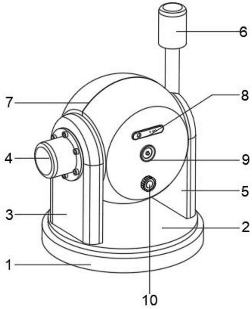
本实用新型提供了基于人工智能的非接触式体温监测视觉追踪平台,包括:旋转底座、转盘、第一支撑体;所述旋转底座呈圆盘状结构,且旋转底座的上部设置有转盘;所述第一支撑体设置在转盘的上部,且第一支撑体与转盘为一体式结构;所述电机设置在第一支撑体的侧部,且电机与第一支撑体通过螺栓固定相连接;所述第二支撑体设置在转盘的上部,且第二支撑体与转盘为一体式结构;所述指示灯设置在第二支撑体的上部,且指示灯与二支撑体为一体式结构;通过对现有装置的改进,该装置具有能够跟踪定位体温异常人员、检测效果好、使用便利的优点,从而有效的解决了本实用新型在背景技术一项中提出的问题和不足。
