专利号:
CN202122099291.2
摘要:
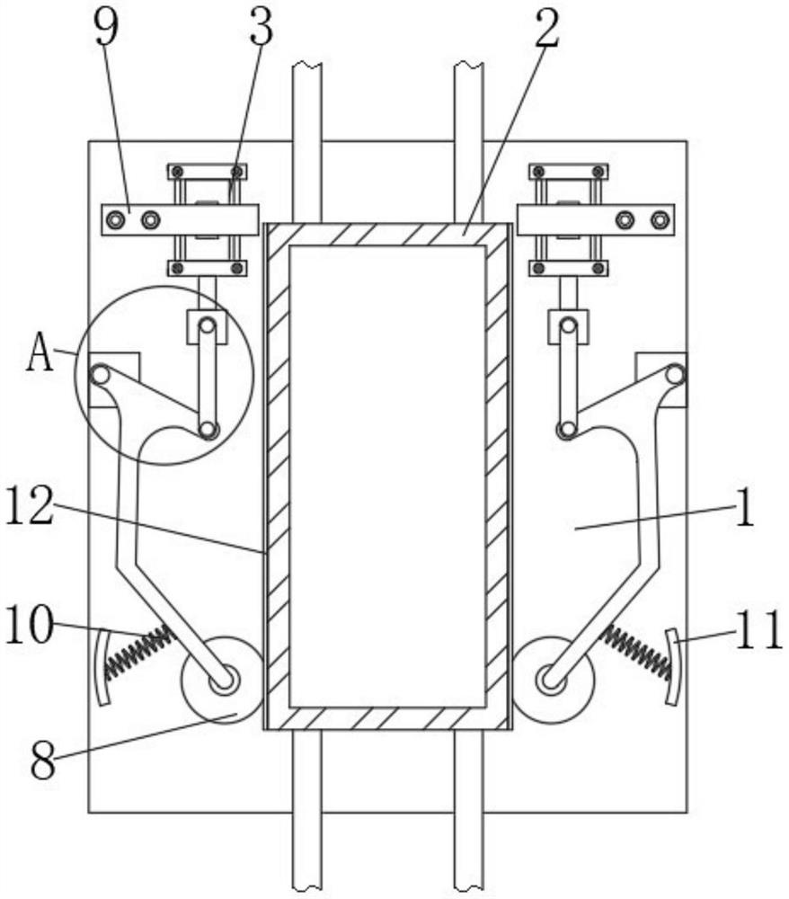
本实用新型公开了一种生命科学检测仪检测用送料座,包括固定座,通过滑轨滑动连接在固定座正面的送料座本体,所述固定座正面两侧的顶部均固定连接有微型气缸,所述微型气缸的输出端固定连接有连接块,所述连接块的正面通过转轴活动连接有活动杆,所述活动杆的底部通过转轴活动连接有限位夹杆,所述固定座正面两侧的顶部且位于微型气缸的底部均固定连接有轴座。本实用新型达到可以稳定送料的效果,该生命科学检测仪检测用送料座,解决了现有的送料座在移动的过程中由于没有任何的限位结构,单单仅靠滑轨的话依旧会出现不稳的现象,就会产生晃动,而这些晃感会对内部的物料造成一定的损害,影响了物料质量的问题。
