专利号:
CN202122234292.3
摘要:
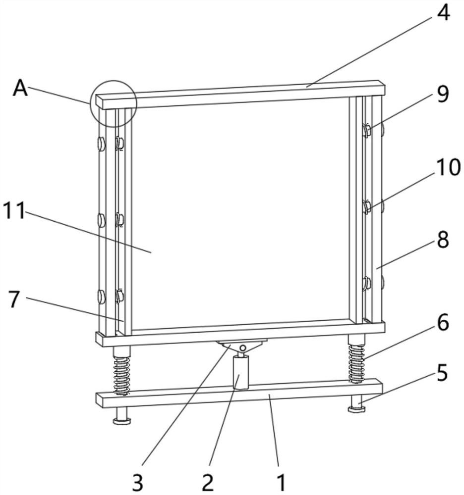
本实用新型公开了一种具有抗震功能的钢结构,属于钢结构领域。一种具有抗震功能的钢结构,包括底板,底板顶面中部安装有减震机构,减震机构上端铰接有铰座,铰座上侧设有两个横板,两个横板之间左右端均设有安装板,安装板外侧设有竖板,安装板与横板之间配合围成安装腔。本实用新型通过竖板在受到横向的外力时,横板通过滑块在滑槽内左右滑动,竖板带动安装板左右晃动时,弹簧B抵消缓冲竖板传递给安装板的外力,从而降低安装腔内的门窗所受到的横向力,结构简单,抗震防护效果好。
