专利号:
CN202122278179.5
摘要:
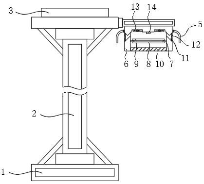
本实用新型公开了一种易于散热的太阳能路灯,包括路灯柱、灯头和太阳能电池板,太阳能电池板设于路灯柱的顶部,灯头设于路灯柱顶部的一侧;灯头包括壳体、LED灯和灯罩,所述壳体倒扣安装于路灯柱上,壳体内部中空、底部呈开口状,壳体内腔的中部沿内壁设有环形的凸台,凸台上设有若干螺纹孔,LED灯通过螺纹孔安装于凸台的下表面上;灯罩连接于壳体的下表面上,壳体为透明材料;凸台的上表面上固定连接有散热板,壳体内腔的顶部设有散热风扇,所述散热风扇正对散热板;壳体的左右两侧还设有散热孔,散热孔位于壳体上部,散热孔呈向下的斜坡状,散热孔的前端设有过滤网;壳体左右两侧还设有弧形的遮雨板,遮雨板用于为散热孔挡雨。
