专利号:
CN202122315659.4
摘要:
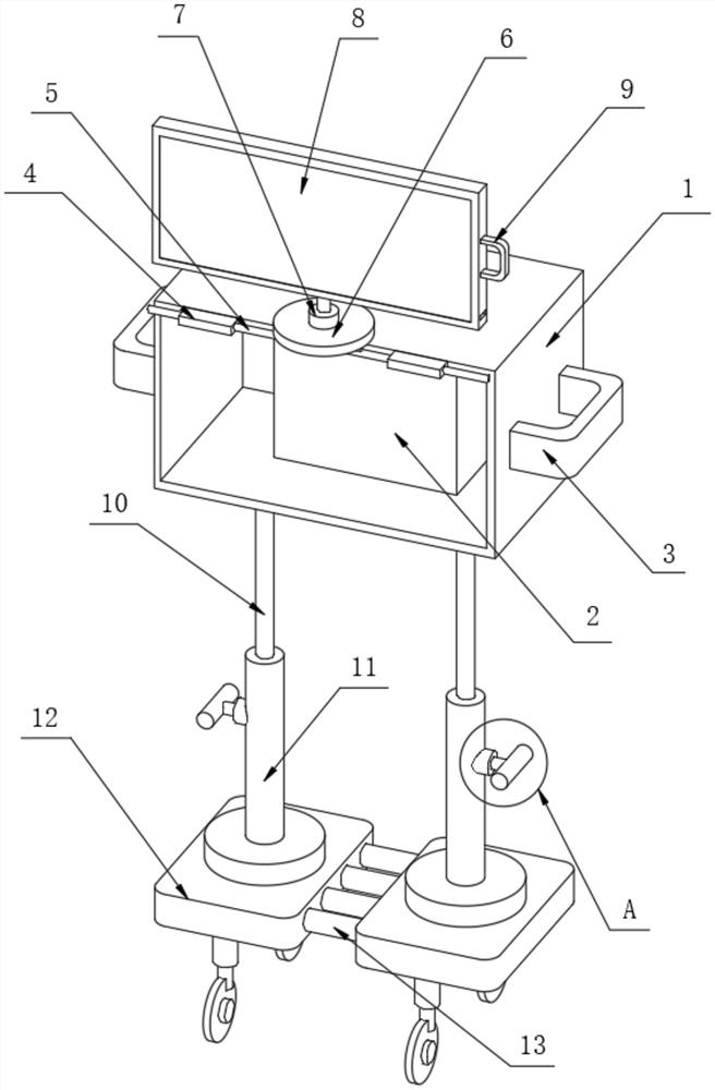
本实用新型公开了一种可调节的视觉传达设计制图专用教学设备,涉及教学用具技术领域,包括电力存储箱,所述电力存储箱的内部固定安装有电力控制箱,所述电力存储箱的一侧固定安装有活动把手,所述电力存储箱一侧的顶端固定安装有安装块,所述安装块的内部可拆卸安装有活动轴,所述活动轴的一侧可拆卸安装有活动盘,所述活动盘的顶端可拆卸安装有旋转轴,所述旋转轴的顶端可拆卸安装有展示器,所述展示器的一侧固定安装有旋转把手。通过活动盘,旋转轴,展示器和旋转把手相配合,起到了可以对展示器进行水平方向角度的调节,从而可以对不同角度进行制图教学的效果,提高装置的机动性和全面性,从而提高装置整体的实用性。
