专利号:
CN202122372702.0
摘要:
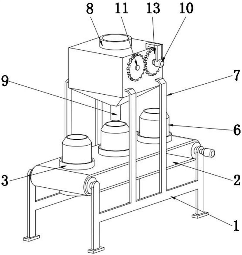
本实用新型公开了一种高效生防菌剂生产包装装置,包括安装架与包装瓶主体,所述安装架的上方设有传送带主体,所述传送带主体的表面等距设有多组用于固定包装瓶主体的固定座,所述传送带主体的正上方设有物料箱,所述物料箱的底端设有下料管,还包括破碎组件、过滤组件以及防堵组件,所述破碎组件位于物料箱的内部,所述过滤组件位于所述物料箱的内部且位于所述破碎组件的下方,所述防堵组件位于所述下料管的内部,本实用新型通过破碎组件能对结块的原料进行破碎,通过过滤组件,能够对破碎后的原料过滤,通过防堵组件,使得原料进行顺利的从下料管处流出,进一步提高了防堵效果,从而能够提高原料的包装效率。
