专利号:
CN202122438992.4
摘要:
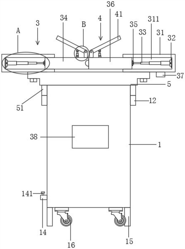
本实用新型公开的属于垃圾桶技术领域,具体为一种智能垃圾桶,包括桶体,所述桶体底端安装有支撑腿和万向轮,所述桶体外壁上安装有电池箱,所述电池箱内设置有电池,所述桶体底部开设有通孔,所述桶体顶端外壁一体成型设有支撑环,所述桶体顶端可拆卸连接支撑座,所述支撑座上安装有智能封口组件,本实用新型的有益效果是:通过设置智能封口组件对桶体顶端开口进行密封,从而人们在扔垃圾时,闻不到垃圾桶内的异味;并且人们不会因为要避免闻到垃圾桶内异味而远处抛垃圾,就不会将垃圾扔到地面,更加卫生和环保,扔垃圾时,将垃圾扔在辅助组件上,再自动打开桶体的开口,从而垃圾自动进入垃圾桶中,使用方便。
