专利号:
CN202122449103.4
摘要:
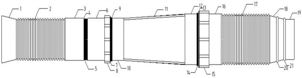
本实用新型公开了一种改进的新型装配式道路PC井身与管道接口装置,包括可变性系统、连接系统、防水系统、井身与管道的固定系统。可变性系统包括入口波纹管道、出口波纹管道;连接系统包括螺母管道、螺纹管道;防水系统包括连接系统橡胶防水圈、入口固定螺母橡胶防水圈、出口固定螺母橡胶防水圈、入口管道连接橡胶防水圈、出口管道连接橡胶防水圈,固定系统包括入口固定螺母、出口固定螺母、变截面二分之一圆管道;本实用新型属于道路工程领域,提供的装置使用组装方便,质量可以有效的控制,可以很好的解决PC井与管道的连接问题,新型装配式道路PC井与管道接口装置对于现场施工的质量控制及减少施工时间具有重要的意义。
