专利号:
CN202122661785.5
摘要:
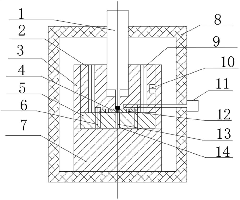
本实用新型涉及大块非晶合金制备技术领域,且公开了一种用于非晶直齿轮的超塑性成形装置,包括加热控温装置、挤压模具、可拆式挤压杆和垫块;加热控温装置由电阻炉和热电偶组成,所述电阻炉的加热方式为电阻加热,所述热电偶用于测温控温,所述电阻炉内充入氩气、氮气等惰性气体进行气体保护;所述挤压模具由上模块、轴套、可拆式活动凹模和下模板组成;凹模采用可拆卸的活动凹模,不同于以往的固定式凹模,能直接拆卸更换,能够较为方便的对不同齿数和模数的非晶直齿轮进行成形,方便了实验人员,提高了实用性。本实用新型中的活动凹模采用的是高温合金,能多次重复使用,极具经济性。
