专利号:
CN202122789123.6
摘要:
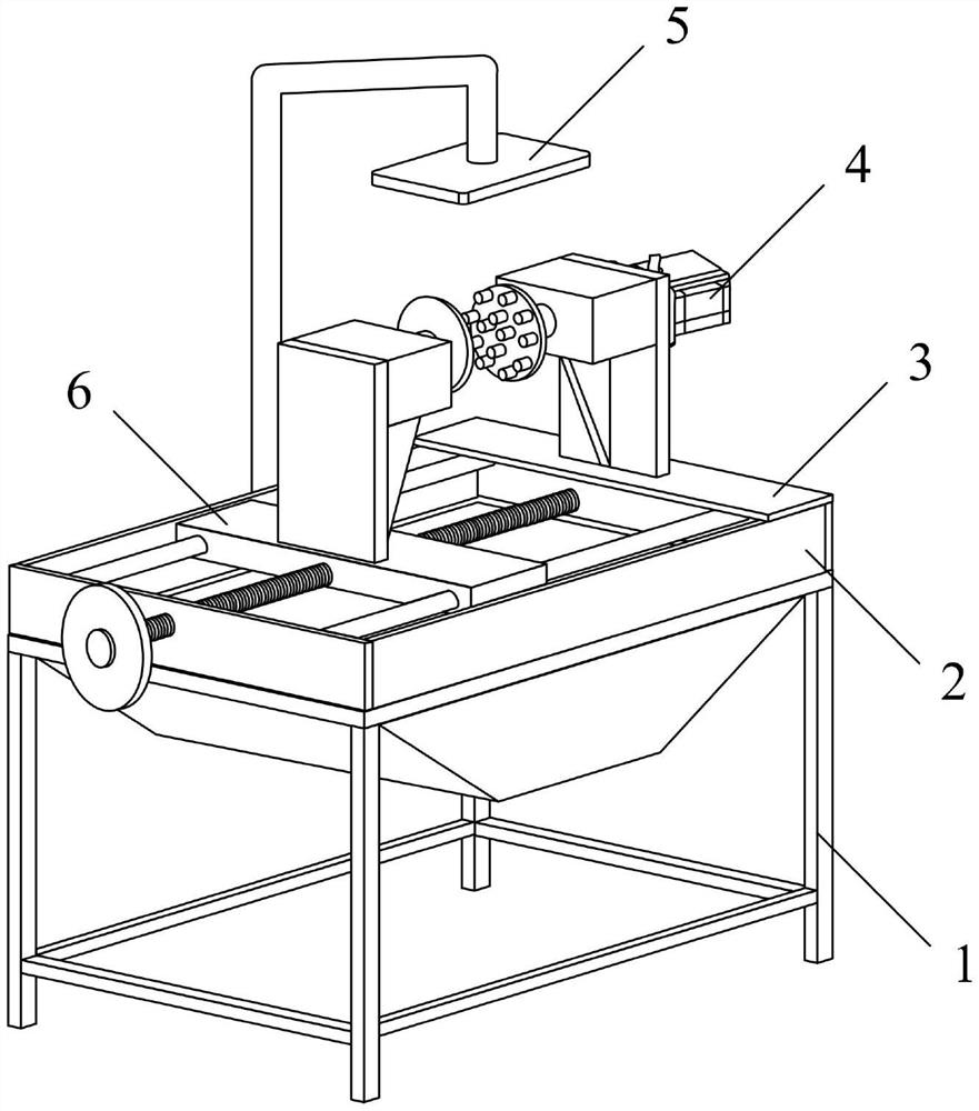
本实用新型公开了一种汽车零件表面喷涂处理装置,包括机架体,外框架,安装板,旋转机构,喷涂机构和滑动夹紧装置,本实用新型,通过设置旋转机构,在对零件喷涂前,首先将零件夹持在第一旋转盘和第二旋转盘之间,调速电机通过传动轴带动第一旋转盘缓慢旋转,从而实现零件的旋转,无需人工对零件进行翻转,有效的提高了零件的喷涂效率,降低了人工劳动强度;通过设置喷涂机构,循环泵通过循环管将喷涂液箱的喷涂液输送至喷淋头内,实现了对零件的喷涂,多余的喷涂液流回喷涂液箱内,实现了喷涂液的循环利用,并节省了生产成本。
