专利号:
CN202122823234.4
摘要:
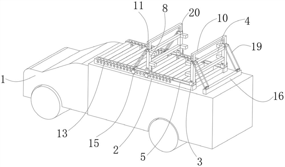
本实用新型涉及连接结构技术领域,特别是一种电力巡检小车外挂设备的连接结构,包括电力巡检车本体,所述电力巡检车本体的顶部固定连接有安装架。本实用新型的优点在于:通过所述滑板、第二铰接座、移动定位架、第二定位孔、第三定位孔和第二定位螺栓的配合设置,使得该连接结构能够对不同长度的设备进行固定连接工作,通过所述空槽、延伸定位架、第一定位孔和第一定位螺栓的配合设置,使得该连接结构能够对不同高度的设备进行固定连接工作,使得该连接结构不再是固定式的,能够根据设备的实际情况来进行调整,扩大了该连接结构的使用范围,操作简便,能够快速的对设备进行固定连接工作,达到了提高连接设备效率的效果。
