专利号:
CN202111372873.1
摘要:
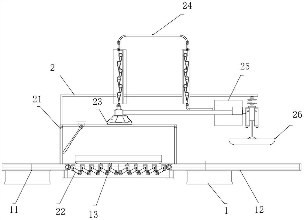
本发明涉及茎叶花加工技术领域,具体是一种茎叶花干燥冷凝浓缩喷雾一体机,包括装载机件,以及安装于装载机件上的加工机件;加工机件包括:加热机箱,设置于进料传输带、出料传输带之间,进料传输带、出料传输带均内延至加热机箱内腔。加热组件,安装于加热机箱的底部,并且与进料传输带、出料传输带相对接;吸气组件,安装于加热机箱的顶端,用以聚集植物干燥后的水汽;液化组件,连接于吸气组件的输气端,用以将水汽液化;聚液组件;设置于液化组件的输液端,用以收集液化后的溶液并且与辅料混合;喷淋组件;安装于聚液组件的出液端。本发明使干燥后的茎叶花适当吸收水分、防腐物质以及其原本的香味色泽等成分,使得处理后茎叶花的还原程度更高。
