专利号:
CN202111405910.4
摘要:
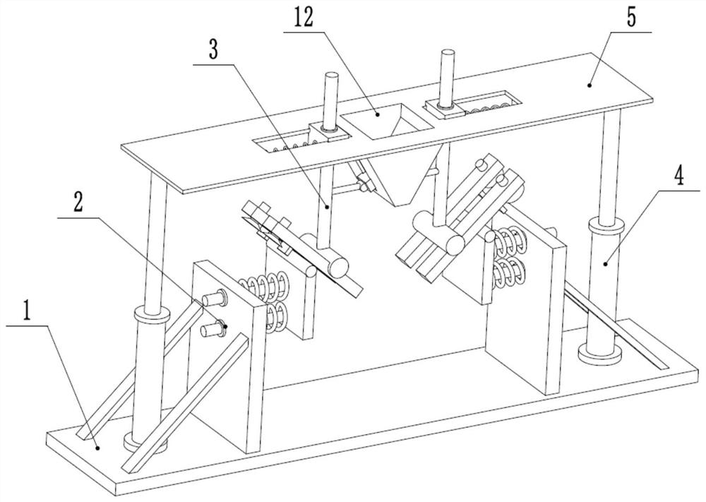
本发明涉及食品生产技术领域,公开了一种食品生产中的撑袋结构,包括底板,底板的两端设有气缸,气缸的活塞杆固定连接升降板,还包括顶紧机构和支撑机构;顶紧机构,设置于升降板上,包括设置于升降板中部的漏斗,升降板的两侧设有滑槽,滑槽滑动连接第一滑块,第一滑块的中部滑动连接导向杆,导向杆靠近地面的一端设有转动杆,转动杆的两侧转动连接顶紧板,顶紧板远离装置中心的一端设有吸头,所述漏斗的两侧滑动连接第二滑块,第二滑块连接顶杆的一端;支撑机构,设置于底板的两侧。本发明适用于一种食品生产中的撑袋结构,灌装完成之后包装袋可以自动的与顶紧板脱离,使得整个装置的自动化程度较高,提高了生产效率。
