专利号:
CN202122912723.7
摘要:
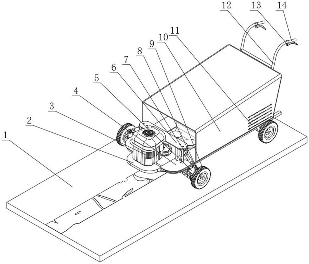
本实用新型公开一种带清除结构的划线设备,包括轮毂和轮胎,所述轮胎的内部设置有轮毂,且轮胎的下方设置有地面,所述轮胎的内部设置有轮毂,所述轮毂的前端设置有底杠,所述底杠的顶端中部设置有底板,本实用新型的带清除结构的划线设备在使用的时候实现划线机的除线、划线一体化,大大降低成本,其次配备自动清扫装置,可将路面不利于划线的碎屑和已损坏的道路标志线直接通过清扫装置的毛刷刷出工作区域,喷涂更加均匀稳定,还有喷枪支架可根据喷涂需求自由灵活地进行调节,还能够缓冲装置可以减轻工作中机器的震动,工作状态稳定,最重要的是智能驾驶模式,大大降低人工劳动强度,划线效率更高,质量更优。
