专利号:
CN202123047520.2
摘要:
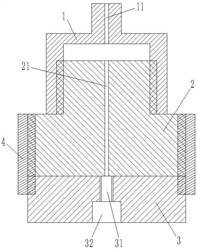
本实用新型属于非晶合金齿轮的制备技术领域。本实用新型公开了一种非晶合金齿轮的铸造模具,包括盖子、上模、下模和固定环;其中,所述盖子上设有通气孔,所述上模设有沿其轴向贯穿的气道,所述下模设有型腔和直浇道,所述型腔的内部设有轮齿并且与所述直浇道连接,所述直浇道用于引入合金熔体至所述型腔;所述盖子用于与铸造连杆连接,并且所述盖子能够与所述上模形成连接,使所述气道与所述通气孔连通;所述固定环用于所述上模与所述下模之间的轴向密闭连接,并且所述气道与所述型腔形成连通。通过采用本实用新型提出的非晶合金齿轮铸造模具,可以制备获得具有更高屈服强度和疲劳强度以及表面光洁度和尺寸精度的非晶合金结构的微齿轮铸件。
