专利号:
CN202123164251.8
摘要:
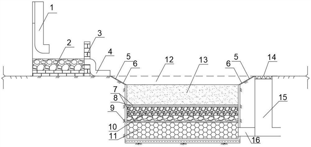
本实用新型提供了一种城镇屋顶雨水和路面雨水资源综合利用系统,包括滤水槽和集水槽,滤水槽设置在建筑物附近,建筑物上安装有将建筑物顶面与滤水槽之间连通的集水管;集水槽在地面平面下,集水槽设置有种植池、过滤池和储水池,过滤池内自上而下设置有砂石层和砾石层,储水池连通有地下排水管。本实用新型利用天然的鹅卵石、砂石层、砾石层的过滤雨水的能力,种植池内种植的绿色植物净化雨水的能力,将城镇水资源进行净化,储水池连通有地下排水管,将雨水通过地下排水管排入地下排水道,集水槽的一侧设置有拦污栅,从集水槽溢出的雨水经过拦污栅过滤,通过流水通道流入地下排水道,完成城镇非常规水资源净化,生态利用和综合排放。
