专利号:
CN202123355486.5
摘要:
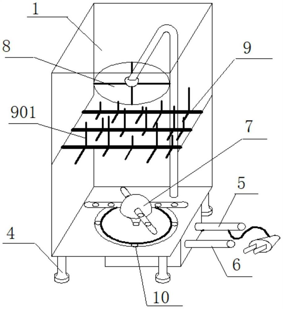
本实用新型涉及实验室仪器设备技术领域,具体涉及一种实验室用玻璃仪器清洗装置,所述的清洗装置包括箱体和箱门,所述的清洗装置还包括底部喷淋器,呈风车状,可旋转,内部设置有高压装置,喷淋条和喷水孔,所述的底部喷淋器与进水管连接,所述的箱体还设置有排水孔,与排水管连接;所述的箱体内部还设置有至少2个置物架,所述的置物架呈杆状,可拆卸的连接在箱体内部,其上设置有由弹性材料制成的固定杆;所述的清洗装置设置有置物架能一次性清洗多个玻璃仪器,可以节省清洗用水以及节约清洗时间,为实验人员节约更多的时间进行科研活动;本实用新型还设置有顶部喷淋器和底部喷淋器,可以通过旋转、高压喷水的形式,对玻璃仪器进行全方位清洗。
