专利号:
CN202220343236.5
摘要:
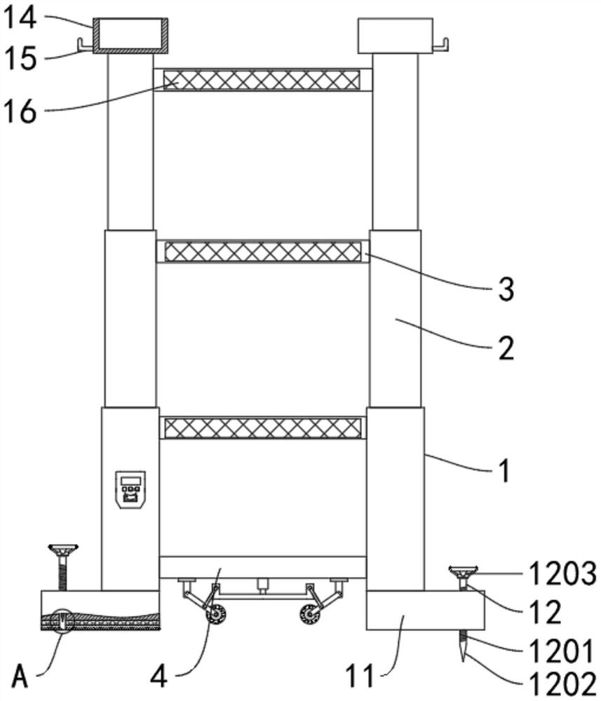
本实用新型公开了一种稳定性高的伸缩梯,其技术方案要点是:包括伸缩梯本体,伸缩节的底部之间固定设置有支撑板,支撑板的下端中部固定设置有电动推杆,电动推杆的下端固定设置有支撑横杆,支撑板的下端设置有固定块,固定块的下端设置有第一连接杆,第一连接杆的另一端固定设置有滚轮,支撑横杆与第一连接杆的中部之间设置有第二连接杆,伸缩梯本体的底部固定设置有支撑底座,支撑底座的内部设置有限位杆,支撑底座包括底座本体,底座本体的底部固定设置有加强层,加强层的下端固定设置有弹性橡胶垫,弹性橡胶垫的下端固定设置有多个橡胶凸块;本实用新型解决了现有的梯子在使用时稳定性差以及不便于移动的问题。
