专利技术

您当前的位置: 网站首页 > 科技成果 > 专利技术 > 正文

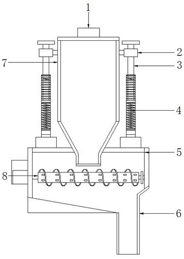
一种ABS合成树脂送料振动装置
2024-03-19 点击: 作者: 来源:

专利号:

CN202220379967.5

摘要:

本实用新型公开了一种ABS合成树脂送料振动装置,包括进料壳体和排料箱,所述进料壳体的顶部中间设置有振动电机,所述排料箱的内部中间且是位于进料壳体的底部位置设置有排料装置,所述排料装置包括两个转动杆和驱动电机,所述转动杆的两端均设置有连接杆,所述连接杆的上均设置有齿轮且之间相齿合连接,所述转动杆上设置有螺旋叶片,所述转动杆上设置有若干槽体。本实用新型通过排料装置,可以便捷的对树脂的送料速度进行调节,提高了使用的便捷性,避免了卡料的现象。