专利号:
CN202220429266.8
摘要:
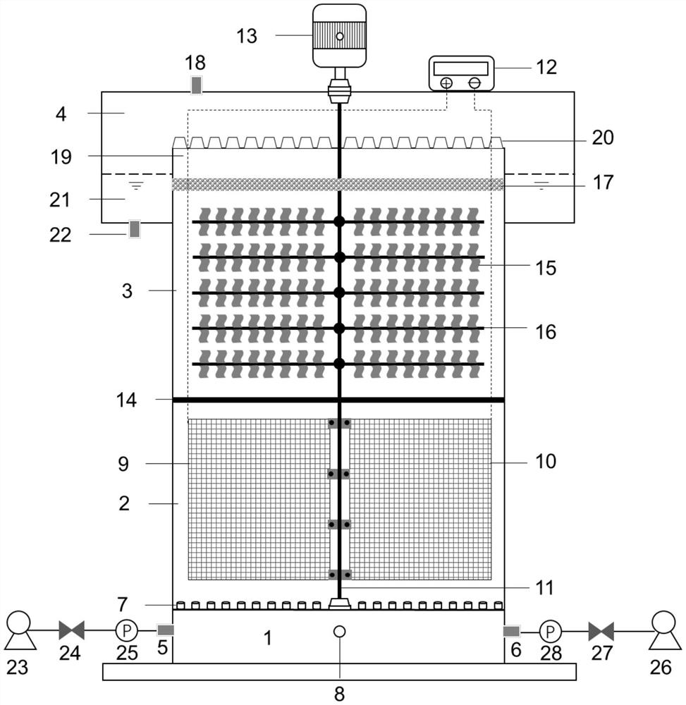
一种处理难降解有机废水的装置,包括在壳体内自下而上依次布置的气水混合腔、电化学反应腔、生物膜反应腔和排放腔;气水混合腔设置有进水口和进气口;电化学反应腔与气水混合腔之间以环形布水盘隔开,电化学反应腔内置电化学阳极板和电化学阴极板;生物膜反应腔与电化学反应腔之间以金属过滤网隔开,生物膜反应腔内置生物膜载体;排放腔与生物膜反应腔之间以活性炭层隔开,排放腔连接有排水管和排气管。难降解有机废水通过布水盘进入到电化学反应腔内,其中的难降解有机污染物被电极表面产生的强氧化性物质氧化降解。随后降解所得的中间产物和残余的少量难降解有机污染物进入生物膜反应腔的生物区被附着在纤维膜表面的微生物膜矿化去除。
